Ростверк цены в Уренгое купить металлический ростверк, монтаж и изготовление под ключ с проектированием предлагает компания Урал МК. Компания Урал МК изготавливает свайные, плитные и буронабивные ростверки с проектированием и расчетом. Металлические ростверки — это элементы фундамента, которые обеспечивают распределение нагрузки от конструкции на сваи или другие опорные элементы. Они играют ключевую роль в стабилизации здания и обеспечивают его долговечность. Уральский завод Урал Металлоконструкции предлагает изготовление металлических ростверков различного типа, включая свайные, плитные и буронабивные ростверки, а также полный спектр услуг по проектированию и монтажу ростверков в Уренгое и других регионах.
| Наименование | Цена, руб./тонна | |
|---|---|---|
| Ростверк фундамента | По запросу |
Заказать
|
| Свайный ростверк | По запросу |
Заказать
|
| Ростверк на сваях | По запросу |
Заказать
|
| Ростверк монолитный | По запросу |
Заказать
|
| Винтовой ростверк | По запросу |
Заказать
|
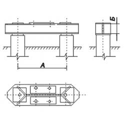
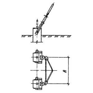
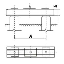
| Эскиз | Шифр | Основные размеры | Вес, кг | Тип свай | Цена | ||
|---|---|---|---|---|---|---|---|
| А, мм | Б, мм | ||||||
| Под свободностоящие промежуточные металлические опоры, закрепляемые двумя болтами | |||||||
![]() | Р2-25-16-2 | 800 | 160 | 101 | С25 | По запросу | Заказать |
| Р2-25-20-2 | 200 | 137 | |||||
| Р2-35-16-2 | 1100 | 160 | 110 | С35 | По запросу | Заказать | |
| Р2-35-20-2 | 200 | 141 | |||||
| Р2-35-24-2 | 240 | 200 | По запросу | Заказать | |||
| Р2-35-30-2 | 300 | 250 | |||||
| Р2-56-24-2 | 1700 | 240 | 221 | ЦС | По запросу | Заказать | |
| Р2-56-30-2 | 300 | 296 | |||||
| Р2-56-30С-2 | 408 | По запросу | Заказать | ||||
| Под свободностоящие промежуточно-угловые и анкерно-угловые опоры, закрепляемые четырьмя болтами | |||||||
![]() | Р2-25-16С-4 | 800 | 160 | 185 | С25 | По запросу | Заказать |
| Р2-35-16С-4 | 1100 | 239 | С35 | ||||
| Р2-35-20С-4 | 200 | 247 | По запросу | Заказать | |||
| Р2-35-20С-4Т | 274 | ||||||
| Р2-35-25С-4 | 250 | 313 | По запросу | Заказать | |||
| Р2-56-20С-4 | 1700 | 200 | 304 | ЦС | |||
| Р2-56-20С-4Т | 398 | По запросу | Заказать | ||||
| Р2-56-25С-4 | 250 | 378 | |||||
| Р2-56-30С-4 | 300 | 416 | По запросу | Заказать | |||
| Р2-56-30С-4Т | 431 | ||||||
| Под стойку опор на оттяжках | |||||||
![]() | Р2-35-24-1 | 1100 | 240 | 133 | С35 | По запросу | Заказать |
| Р2-35-30-1 | 300 | 179 | |||||
| Р2-56-24-1 | 1700 | 240 | 167 | ЦС | По запросу | Заказать | |
| Р2-56-30-1 | 300 | 225 | |||||
| Для закрепления оттяжек опор | |||||||
![]() | Р2-35-16-0 | 1100 | 160 | 120 | С35 | По запросу | Заказать |
| Р2-35-24-0 | 240 | 160 | |||||
| Р2-56-24-0 | 1700 | 196 | ЦС | По запросу | Заказать | ||
| Эскиз | Шифр | Основные размеры | Вес, кг | Тип свай, подножников | Цена, руб. | |||
|---|---|---|---|---|---|---|---|---|
| A, мм | B, мм | C, мм | ||||||
| Под промежуточные опоры | ||||||||
![]() | Р4-35-20/16-2 | 1100 | 200 | 160 | 283 | С35 | По запросу | Заказать |
| Р4-35-24/20-2 | 240 | 200 | 380 | По запросу | Заказать | |||
| Р4-35-30/24-2 | 300 | 240 | 514 | По запросу | Заказать | |||
| Под тяжелые промежуточные и анкерно-угловые опоры | ||||||||
![]() | Р4-35-16С/20-4 | 1100 | 160 | 200 | 427 | С35 | По запросу | Заказать |
| Р4-35-20С/24-4 | 200 | 240 | 523 | По запросу | Заказать | |||
| Р4-35-20С/24-4Т | 550 | По запросу | Заказать | |||||
| Р4-35-25С/20-4 | 250 | 200 | 501 | По запросу | Заказать | |||
| Р4-35-25С/24-4 | 240 | 547 | По запросу | Заказать | ||||
| Р4-35-30С/30-4Т | 300 | 300 | 732 | По запросу | Заказать | |||
| Р4-56-20С/24-4 | 1700 | 200 | 240 | 612 | ЦС | По запросу | Заказать | |
| Р4-56-25С/30-4 | 250 | 300 | 818 | По запросу | Заказать | |||
| Р4-56-20С/30-4Т | 200 | 838 | По запросу | Заказать | ||||
| Р4-56-30С/30-4 | 300 | 671 | По запросу | Заказать | ||||
| Р4-56-30С/25С-4 | 250 | 1044 | По запросу | Заказать | ||||
| Р4-56-30С/25С-4Т | 1067 | По запросу | Заказать | |||||
| Р4-56-35С/30С-4Т | 350 | 300 | 1199 | По запросу | Заказать | |||
| Под стойки опор на оттяжках | ||||||||
![]() | Р4-35-30/24-1 | 1100 | 306 | 240 | 445 | С35 | По запросу | Заказать |
| Для закрепления оттяжек опор | ||||||||
![]() | Р4-35-24/16-0 | 1100 | 240 | 160 | 293 | С35 | По запросу | Заказать |
| Для спаренных фундаментов под тяжелые анкерно-угловые опоры | ||||||||
![]() | Б1-А | 1700 | 500 | 350 | 984 | ФС1-А-350 | По запросу | Заказать |
| Б2-А | 250 | ФС2-А-350 | По запросу | Заказать | ||||
| Б3-А | 960 | 482 | 350 | 73 | ФП5-А-350 | По запросу | Заказать | |
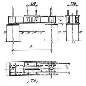
Эскиз | Шифр фундамента | Основные размеры | Вес, кг | Тип свай | Цена | |||
|---|---|---|---|---|---|---|---|---|
| А, мм | В, мм | С, мм | ||||||
| Односвайные фундаменты под свободностоящие промежуточные опоры | ||||||||
![]() | Ф1.35-2 | — | 100 | — | 29,7 | СН35, С35 | По запросу | Заказать |
| Ф1.42-2 | — | 100 | — | 29,7 | ЦС42 | По запросу | Заказать | |
| Ф1.56-2 | — | 100 | — | 29,7 | ЦС56 | По запросу | Заказать | |
| Односвайные фундаменты под тяжелые промежуточные и анкерно-угловые опоры | ||||||||
![]() | Ф1.35-4 | — | 100 | — | 39,1 | СН35, С35 | По запросу | Заказать |
| Ф1.42-4 | — | 100 | — | 39,1 | ЦС42 | По запросу | Заказать | |
| Ф1.56-4 | — | 100 | — | 39,1 | ЦС56 | По запросу | Заказать | |
| Односвайные фундаменты под стойки опор с оттяжками | ||||||||
![]() | Ф1.35-1 | — | — | — | 21 | СН35, С35 | По запросу | Заказать |
| Ф1.42-1 | — | — | — | 21 | ЦС42 | По запросу | Заказать | |
| Ф1.56-1 | — | — | — | 21 | ЦС56 | По запросу | Заказать | |
| Односвайные фундаменты для закрепления оттяжек | ||||||||
![]() | Ф1.35-0 | — | — | — | 27,3 | СН35, С35 | По запросу | Заказать |
| Ф1.42-0 | — | — | — | 37,8 | ЦС42 | По запросу | Заказать | |
| Ф1.56-0 | — | — | — | 60,9 | ЦС56 | По запросу | Заказать | |
Эскиз | Шифр фундамента | Основные размеры | Вес, кг | Тип свай | Цена | |||
|---|---|---|---|---|---|---|---|---|
| А, мм | В, мм | С, мм | ||||||
| Двухсвайные фундаменты под свободностоящие промежуточные опоры | ||||||||
![]() | Ф2.35-2-16 | 1100 | 160 | — | 91,6 | СН35, С35 | По запросу | Заказать |
| Ф2.35-2-20 | 1100 | 200 | — | 120,6 | СН35, С35 | По запросу | Заказать | |
| Ф2.35-2-24 | 1100 | 240 | — | 156,1 | СН35, С35 | По запросу | Заказать | |
| Ф2.42-2-16 | 1100 | 160 | — | 91,6 | ЦС42 | По запросу | Заказать | |
| Ф2.42-2-20 | 1100 | 200 | — | 120,6 | ЦС42 | По запросу | Заказать | |
| Ф2.42-2-24 | 1100 | 240 | — | 156,1 | ЦС42 | По запросу | Заказать | |
| Ф2.56-2-24 | 1700 | 240 | — | 190,8 | ЦС56 | По запросу | Заказать | |
| Ф2.56-2-30 | 1700 | 300 | — | 257,1 | ЦС56 | По запросу | Заказать | |
| Двухсвайные фундаменты под тяжелые промежуточные и анкерно-угловые опоры | ||||||||
![]() | Ф2.35-4-20 | 1100 | 200 | — | 193,3 | СН35, С35 | По запросу | Заказать |
| Ф2.35-4-24 | 1100 | 240 | — | 232,9 | СН35, С35 | По запросу | Заказать | |
| Ф2.42-4-20 | 1100 | 200 | — | 193,3 | ЦС42 | По запросу | Заказать | |
| Ф2.42-4-24 | 1100 | 240 | — | 232,9 | ЦС42 | По запросу | Заказать | |
| Ф2.56-4-20 | 1700 | 200 | — | 253,4 | ЦС56 | По запросу | Заказать | |
| Ф2.56-4-24 | 1700 | 240 | — | 305,4 | ЦС56 | По запросу | Заказать | |
| Двухсвайные фундаменты под стойки опор с оттяжками | ||||||||
![]() | Ф2.35-1-24 | 1100 | 240 | — | 164,9 | СН35, С35 | По запросу | Заказать |
| Ф2.42-1-24 | 1100 | 240 | — | 164,9 | ЦС42 | По запросу | Заказать | |
| Ф2.56-1-30 | 1700 | 300 | — | 268,7 | ЦС56 | По запросу | Заказать | |
| Ф2.35-1-30 | 1100 | 300 | — | 206,2 | СН35, С35 | По запросу | Заказать | |
| Ф2.42-1-30 | 1100 | 300 | — | 206,2 | ЦС42 | По запросу | Заказать | |
| Ф2.56-1-40 | 1700 | 400 | — | 376,1 | ЦС56 | По запросу | Заказать | |
![]() | Ф2.35-1/5-24 | 1100 | 240 | — | 169,2 | СН35, С35 | По запросу | Заказать |
| Ф2.42-1/5-24 | 1100 | 240 | — | 169,2 | ЦС42 | По запросу | Заказать | |
| Ф2.56-1/5-30 | 1700 | 300 | — | 278,8 | ЦС56 | По запросу | Заказать | |
| Ф2.35-1/5-30 | 1100 | 300 | — | 218,2 | СН35, С35 | По запросу | Заказать | |
| Ф2.42-1/5-30 | 1100 | 300 | — | 218,2 | ЦС42 | По запросу | Заказать | |
| Ф2.56-1/5-40 | 1700 | 400 | — | 389,9 | ЦС56 | По запросу | Заказать | |
| Ф2.35-1/10-24 | 1100 | 240 | — | 168,4 | СН35, С35 | По запросу | Заказать | |
| Ф2.42-1/10-24 | 1100 | 240 | — | 168,4 | ЦС42 | По запросу | Заказать | |
| Ф2.56-1/10-30 | 1700 | 300 | — | 278,4 | ЦС56 | По запросу | Заказать | |
| Ф2.35-1/10-30 | 1100 | 300 | — | 217,8 | СН35, С35 | По запросу | Заказать | |
| Ф2.42-1/10-30 | 1100 | 300 | — | 217,8 | ЦС42 | По запросу | Заказать | |
| Ф2.56-1/10-40 | 1700 | 400 | — | 389,6 | ЦС56 | По запросу | Заказать | |
| Двухсвайные фундаменты для закрепления оттяжек | ||||||||
![]() | Ф2.35-0-20 | 1100 | 200 | — | 143,6 | СН35, С35 | По запросу | Заказать |
| Ф2.35-0-30 | 1100 | 300 | — | 234,2 | СН35, С35 | По запросу | Заказать | |
| Ф2.42-0-20 | 1100 | 200 | — | 143,6 | ЦС42 | По запросу | Заказать | |
| Ф2.42-0-30 | 1100 | 300 | — | 234,2 | ЦС42 | По запросу | Заказать | |
| Ф2.56-0-30 | 1700 | 300 | — | 277,7 | ЦС56 | По запросу | Заказать | |
| Ф2.56-0-40 | 1700 | 400 | — | 407,9 | ЦС56 | По запросу | Заказать | |
![]() | Ф2.35-0-3 | 1100 | — | — | 107,3 | СН35, С35 | По запросу | Заказать |
| Ф2.35-0-4 | 1100 | — | — | 118,2 | СН35, С35 | По запросу | Заказать | |
| Ф2.42-0-3 | 1100 | — | — | 128,3 | ЦС42 | По запросу | Заказать | |
| Ф2.42-0-4 | 1100 | — | — | 139,2 | ЦС42 | По запросу | Заказать | |
| Ф2.56-0-4 | 1700 | — | — | 201,3 | ЦС56 | По запросу | Заказать | |
Эскиз | Шифр фундамента | Основные размеры | Вес, кг | Тип свай | Цена | |||
|---|---|---|---|---|---|---|---|---|
| А, мм | В, мм | С, мм | ||||||
| Четырехсвайные фундаменты под свободностоящие промежуточные опоры | ||||||||
![]() | Ф4.35-2-20/16 | 1100 | 200 | 160 | 297,8 | СН35, С35 | По запросу | Заказать |
| Ф4.35-2-24/20 | 1100 | 240 | 200 | 388,7 | СН35, С35 | По запросу | Заказать | |
| Ф4.42-2-20/16 | 1100 | 200 | 160 | 297,8 | ЦС42 | По запросу | Заказать | |
| Ф4.42-2-24/20 | 1100 | 240 | 200 | 388,7 | ЦС42 | По запросу | Заказать | |
| Ф4.56-2-24/20 | 1700 | 240 | 200 | 519,8 | ЦС56 | По запросу | Заказать | |
| Ф4.56-2-30/24 | 1700 | 300 | 240 | 684,1 | ЦС56 | По запросу | Заказать | |
| Четырехсвайные фундаменты под тяжелые промежуточные и анкерно-угловые опоры | ||||||||
![]() | Ф4.35-4-20/20 | 1100 | 200 | 200 | 425,9 | СН35, С35 | По запросу | Заказать |
| Ф4.35-4-24/20 | 1100 | 240 | 200 | 465,5 | СН35, С35 | По запросу | Заказать | |
| Ф4.35-4-30/24 | 1100 | 300 | 240 | 613,3 | СН35, С35 | По запросу | Заказать | |
| Ф4.42-4-20/20 | 1100 | 200 | 200 | 425,9 | ЦС42 | По запросу | Заказать | |
| Ф4.42-4-24/20 | 1100 | 240 | 200 | 465,5 | ЦС42 | По запросу | Заказать | |
| Ф4.42-4-30/24 | 1100 | 300 | 240 | 613,3 | ЦС42 | По запросу | Заказать | |
| Ф4.56-4-24/24 | 1700 | 240 | 240 | 737,4 | ЦС56 | По запросу | Заказать | |
| Ф4.56-4-30/30 | 1700 | 300 | 300 | 945,1 | ЦС56 | По запросу | Заказать | |
| Ф4.35-4-29С/24 | 1100 | 290 | 240 | 643,5 | СН35, С35 | По запросу | Заказать | |
| Ф4.42-4-29С/24 | 1100 | 290 | 240 | 643,5 | ЦС42 | По запросу | Заказать | |
| Ф4.56-4-39С/30 | 1700 | 390 | 300 | 1039,3 | ЦС56 | По запросу | Заказать | |
![]() | Ф4.35-4т-30/24 | 1100 | 300 | 240 | 626,6 | СН35, С35 | По запросу | Заказать |
| Ф4.35-4т-40/24 | 1100 | 400 | 240 | 702,8 | СН35, С35 | По запросу | Заказать | |
| Ф4.42-4т-30/24 | 1100 | 300 | 240 | 626,6 | ЦС42 | По запросу | Заказать | |
| Ф4.42-4т-40/24 | 1100 | 400 | 240 | 702,8 | ЦС42 | По запросу | Заказать | |
| Ф4.56-4т-40/30 | 1700 | 400 | 300 | 1054,3 | ЦС56 | По запросу | Заказать | |
| Ф4.56-4т-40У/30 | 1700 | 400 | 300 | 1073,5 | ЦС56 | По запросу | Заказать | |
| Четырехсвайные фундаменты под стойки опор с оттяжками | ||||||||
![]() | Ф4.35-1-24/20 | 1100 | 240 | 200 | 397,5 | СН35, С35 | По запросу | Заказать |
| Ф4.42-1-24/20 | 1100 | 240 | 200 | 397,5 | ЦС42 | По запросу | Заказать | |
| Ф4.56-1-30/24 | 1700 | 300 | 240 | 695,7 | ЦС56 | По запросу | Заказать | |
| Ф4.35-1-30/24 | 1100 | 300 | 240 | 536,2 | СН35, С35 | По запросу | Заказать | |
| Ф4.42-1-30/24 | 1100 | 300 | 240 | 536,2 | ЦС42 | По запросу | Заказать | |
| Ф4.56-1-40/30 | 1700 | 400 | 300 | 949,3 | ЦС56 | По запросу | Заказать | |
![]() | Ф4.35-1/5-24/20 | 1100 | 240 | 200 | 401,8 | СН35, С35 | По запросу | Заказать |
| Ф4.42-1/5-24/20 | 1100 | 240 | 200 | 401,8 | ЦС42 | По запросу | Заказать | |
| Ф4.56-1/5-30/24 | 1700 | 300 | 240 | 705,8 | ЦС56 | По запросу | Заказать | |
| Ф4.35-1/5-30/24 | 1100 | 300 | 240 | 548,2 | СН35, С35 | По запросу | Заказать | |
| Ф4.42-1/5-30/24 | 1100 | 300 | 240 | 548,2 | ЦС42 | По запросу | Заказать | |
| Ф4.56-1/5-40/30 | 1700 | 400 | 300 | 963,1 | ЦС56 | По запросу | Заказать | |
| Ф4.35-1/10-24/20 | 1100 | 240 | 200 | 401 | СН35, С35 | По запросу | Заказать | |
| Ф4.42-1/10-24/20 | 1100 | 240 | 200 | 401 | ЦС42 | По запросу | Заказать | |
| Ф4.56-1/10-30/24 | 1700 | 300 | 240 | 705,2 | ЦС56 | По запросу | Заказать | |
| Ф4.35-1/10-30/24 | 1100 | 300 | 240 | 547,8 | СН35, С35 | По запросу | Заказать | |
| Ф4.42-1/10-30/24 | 1100 | 300 | 240 | 547,8 | ЦС42 | По запросу | Заказать | |
| Ф4.56-1/10-40/30 | 1700 | 400 | 300 | 962,8 | ЦС56 | По запросу | Заказать | |
| Четырехсвайные фундаменты для закрепления оттяжек | ||||||||
![]() | Ф4.35-0-20/16 | 1100 | 200 | — | 315,8 | СН35, С35 | По запросу | Заказать |
| Ф4.35-0-30/20 | 1100 | 300 | — | 460,2 | СН35, С35 | По запросу | Заказать | |
| Ф4.42-0-20/16 | 1100 | 200 | — | 315,8 | ЦС42 | По запросу | Заказать | |
| Ф4.42-0-30/20 | 1100 | 300 | — | 460,2 | ЦС42 | По запросу | Заказать | |
| Ф4.56-0-30/24 | 1700 | 300 | — | 704,1 | ЦС56 | По запросу | Заказать | |
| Ф4.56-0-40/30 | 1700 | 400 | — | 981,1 | ЦС56 | По запросу | Заказать | |
![]() | Ф4.35-0-3с/3 | 1100 | — | — | 266 | СН35, С35 | По запросу | Заказать |
| Ф4.35-0-4с/3 | 1100 | — | — | 278,1 | СН35, С35 | По запросу | Заказать | |
| Ф4.42-0-3с/3 | 1100 | — | — | 308 | ЦС42 | По запросу | Заказать | |
| Ф4.42-0-4с/3 | 1100 | — | — | 320,1 | ЦС42 | По запросу | Заказать | |
| Тип фундамента | Эскиз | Шифр фундамента | Балка ростверка | Масса (без свай), кг | Цена | |
|---|---|---|---|---|---|---|
Односвайный | ![]() | ВФ1 | — | 26,6 | По запросу | Заказать |
| 29 | По запросу | Заказать | ||||
| 61,8 | По запросу | Заказать | ||||
| 69,8 | По запросу | Заказать | ||||
Двухсвайный | ![]() | ВФ2 | Б2-20 1шт. | 181,2 | По запросу | Заказать |
| Б4-20 1шт. | 207 | По запросу | Заказать | |||
| Б2-24 1шт. | 201,4 | По запросу | Заказать | |||
| Б4-24 1шт. | 229 | По запросу | Заказать | |||
| Б4-27 1шт. | 306 | По запросу | Заказать | |||
Трехсвайный | ![]() | ВФ3 | Б2-20 1шт. Б2-24 1шт. | 366,9 | По запросу | Заказать |
| Б2-24 1шт. Б4-24 1шт. | 462,5 | По запросу | Заказать | |||
Четырехсвайный | ![]() | ВФ4 | Б2-20 2шт. Б2-24 1шт. | 494,1 | По запросу | Заказать |
| Б2-24 2шт. Б4-24 1шт. | 608,5 | По запросу | Заказать |
Расчет ростверка фундамента — ключевая часть процесса проектирования, позволяющая учесть все особенности грунта, нагрузки и других факторов. Мы гарантируем точные расчеты, основанные на современных методах и технологиях, что обеспечивает долговечность и безопасность вашего фундамента.
Стоимость ростверка зависит от типа конструкции, сложности проекта и объема работ. Мы предоставляем конкурентоспособные цены на ростверки и всегда готовы предложить оптимальные решения для вашего бюджета. Для расчета точной стоимости, пожалуйста, свяжитесь с нашими специалистами.
Металлические ростверки бывают нескольких типов, каждый из которых подходит для конкретных условий строительства:
Компания Уральский завод Урал Металлоконструкции предоставляет возможность заказать продукцию по выгодной цене. Ассортимент включает металлические колонны, металлические прогоны и молниеотвод, что позволяет реализовать даже самые амбициозные проекты.
Наши специалисты предоставляют полный спектр услуг по проектированию ростверка, учитывая все особенности вашего строительного объекта. Мы разрабатываем индивидуальные проекты для свайных ростверков, плитных ростверков, а также других типов конструкций, обеспечивая соответствие проектных решений строительным нормам и требованиям.
Монтаж ростверка — это важный этап, от которого зависит дальнейшая устойчивость здания. Мы предлагаем профессиональные услуги по установке ростверка с использованием современного оборудования и высококвалифицированных специалистов.
Вы можете купить металлические ростверки на Уральском заводе Урал Металлоконструкции по выгодной цене, с гарантией качества и долгосрочной эксплуатации. Мы осуществляем доставку ростверков в Уренгое и других регионах, а также предлагаем услуги по монтажу и установке.
Свяжитесь с нами, чтобы получить консультацию по проектированию и расчету ростверков, а также узнать точную цену и условия покупки.
Закупка металлопроката и проведение входного контроля его качества.
Очистка металла, его распил и раскрой на плазменном оборудовании, а также работы по формированию необходимой геометрии и подготовка сварочных кромок.
Заготовки соединяются в разные элементы (марки), из которых затем будет формироваться металлический каркас на месте монтажа.
Очистка элементов от загрязнений, возникших в процессе производства, а также их обезжиривание.
Завершающий этап в производстве металлоконструкций. Нанесение защитных лакокрасочных материалов для предотвращения коррозии.
Проверка рабочей документации, осмотр монтажной площадки, конструкций, изделий и материалов.
Контроль за строительным процессом и выполнением монтажных операций.
Контроль качества выполненных монтажных работ.